LZ1000手動火災報警按鈕立柱
LZ1000手動火災報警按鈕立柱
LZ1000手動火災報警按鈕立柱碳鋼材質,與LZ10001手動報警按鈕防雨罩配套使用,適用于在室外安裝本安型手動報警按鈕,不含防雨罩。
LZ10001型防雨罩防護等級IP65,其外形示意圖如圖1-13所示。

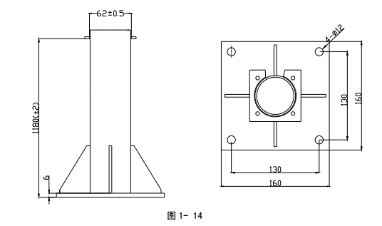
LZ1000型立柱的外形示意圖如圖1-14所示。

LZ10001型防雨罩與LZ1000型立柱配套安裝示意圖如圖1-15所示。

海灣消防公司主營:海灣消防報警系統銷售,消防設備安裝,海灣氣體滅火、海灣電氣火災、消防水噴淋系統施工安裝,售后維修,海灣消防網站:http://www.yftrzs.cn/;海灣消防服務熱線:4006-598-119
本頁關鍵詞:LZ1000手動火災報警按鈕立柱
上一篇:DZ-03(Ex)本安型定位底座 下一篇:LZ1001手動火災報警按鈕立柱
產品中心

蘇公網安備32058102002147號